Aufbau und Wirkweise der Calio
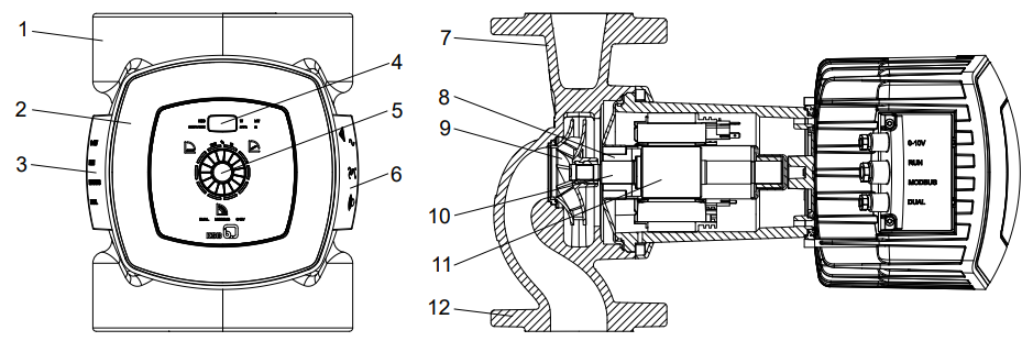
| 1 | Zweiteilige Wärmedämmschale | 7 | Druckstutzen |
| 2 | Bedieneinheit | 8 | Radialgleitlager |
| 3 | Anschlüsse für Steuerleitungen | 9 | Laufrad |
| 4 | Display | 10 | Motorwelle |
| 5 | Bedienelement (Einstellrad und Bedienknopf) | 11 | Motor |
| 6 | Anschlüsse für Netzspannung, Betriebsmeldung und Sammelstörmeldung | 12 | Saugstutzen |
Ausführung
Die Pumpe ist mit einem radialen Strömungseintritt (Saugstutzen) und in einer Linie gegenüberliegenden, radialen Strömungsaustritt (Druckstutzen) ausgeführt. Das Laufrad ist mit der Motorwelle fest verbunden. Es erfolgt keine mechanische Abdichtung, da die komplett von der Statorwicklung isolierte rotierende Einheit vom Fördermedium geschmiert und gekühlt wird. Das Schmiersystem mit hochwertigen Kohlelagern gewährleistet zusammen mit dem präzise gewuchteten Rotor hohe Laufruhe und lange Standzeiten. Die integrierte stufenlose Differenzdruckregelung und die Betriebssoftware ermöglichen der Pumpe sich optimal an veränderliche Betriebsbedingungen anzupassen und die Betriebskosten zu minimieren. Die effiziente Hydraulik in Verbindung mit dem hocheffizienten Elektromotor trägt dazu bei, den aufgenommenen Strom so effizient wie möglich in hydraulische Energie umzusetzen.
Wirkungsweise
Das Fördermedium tritt über den Saugstutzen (12) in die Pumpe ein und wird durch das rotierende Laufrad (9) in eine zylindrische Strömung nach außen beschleunigt. In der Strömungskontur des Pumpengehäuses wird die Geschwindigkeitsenergie des Fördermediums in Druckenergie umgewandelt und das Fördermedium zum Druckstutzen (7) geleitet, über den es aus der Pumpe austritt. Die Welle ist in Radialgleitlagern (8) gelagert, die vom Motor (11) aufgenommen werden.
Kommentare
0 Kommentare
Bitte melden Sie sich an, um einen Kommentar zu hinterlassen.